Composite Headlamp - Mopar (5263372)

Composite Headlamp - Mopar (5263372)

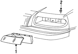
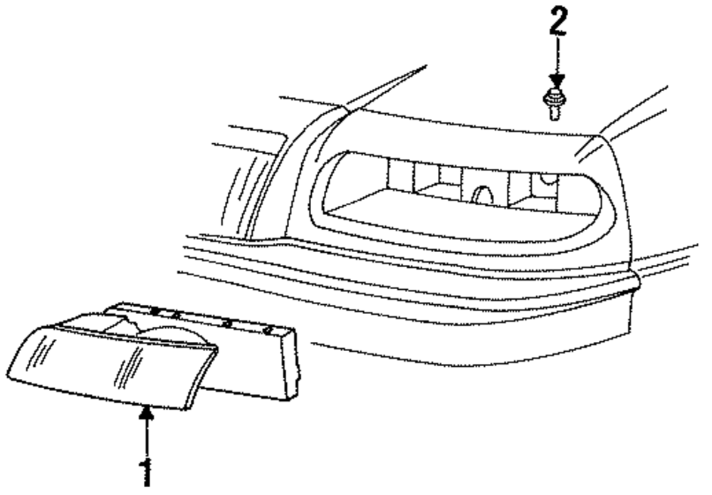
Part can be found as reference #1 in illustration

Composite Headlamp - Mopar (5263372)

Genuine Mopar Parts
Mopar Parts
  • Mopar
  • 5263372

Details

  • Brand:

    Mopar Parts

  • SKU:

    5263372

  • Positions: Right
  • Other Names:

    Headlamp Assembly, 05263372

  • Description:

    All models. Right. 1993-95.

  • Condition: New
  • Applications: LEBARON COUPE/CONVERTIBLE.

Discontinued Product

No Longer Available For Purchase

Manufacturer Warranty Minimum of 12 Months
Guaranteed Fitment Always the correct parts
Shop with Confidence Your information is safe
In-House Experts We know our products
Genuine Mopar Parts
Mopar Parts
  • Mopar
  • 5263372

Details

  • Brand:

    Mopar Parts

  • SKU:

    5263372

  • Positions: Right
  • Other Names:

    Headlamp Assembly, 05263372

  • Description:

    All models. Right. 1993-95.

  • Condition: New
  • Applications: LEBARON COUPE/CONVERTIBLE.

Vehicle Fitment

Vehicle Fitment
Year Make Model Body & Trim Engine & Transmission
( more fitments)
No fitment data available

Vintage Parts Inc D2C

Vintage Parts Inc is your go to online retailer for original GM and MOPAR parts and accessories. You can use the VIN lookup feature to find parts that will match your vehicle. Have questions about a part? Contact us today!