Header Panel Seal - Mopar (4186470)

Header Panel Seal - Mopar (4186470)

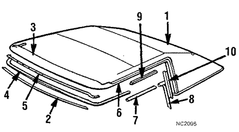
Part can be found as reference #4 in illustration

Header Panel Seal - Mopar (4186470)

Genuine Mopar Parts
Mopar Parts
  • Mopar
  • 4186470

Details

  • Brand:

    Mopar Parts

  • SKU:

    4186470

  • Other Names:

    04186470

  • Description:

    Convertible, soft top.

  • Condition: New

Discontinued Product

No Longer Available For Purchase

Manufacturer Warranty Minimum of 12 Months
Guaranteed Fitment Always the correct parts
Shop with Confidence Your information is safe
In-House Experts We know our products
Genuine Mopar Parts
Mopar Parts
  • Mopar
  • 4186470

Details

  • Brand:

    Mopar Parts

  • SKU:

    4186470

  • Other Names:

    04186470

  • Description:

    Convertible, soft top.

  • Condition: New

Vehicle Fitment

Vehicle Fitment
Year Make Model Body & Trim Engine & Transmission
( more fitments)
No fitment data available

Vintage Parts Inc D2C

Vintage Parts Inc is your go to online retailer for original GM and MOPAR parts and accessories. You can use the VIN lookup feature to find parts that will match your vehicle. Have questions about a part? Contact us today!