Door & Components for 1987 Chevrolet Cavalier
No.
Part # / Description / Price
Price
2
Outer Panel
GM
GM Positions: Left
Description: 2 door, coupe. 2 door notchback & hatchback. Convertible.
2
Outer Panel
GM
GM Positions: Right
Description: 2 door notchback & hatchback. 2 door, coupe. Convertible.
3
Edge Guard
GM
GM Positions: Right
Description: 2 door, edge guard, without wide lwr mldg. Coupe. 2 door, black. Convertible, edge guard.
3
Edge Guard
GM
GM Positions: Left
Description: 2 door, edge guard, without wide lwr mldg. Coupe. 2 door, black. Convertible, edge guard.
4
Reveal Molding
GM
GM Positions: Right
Description: 2 door notchback & hatchback, scalp, front, black. 2 door, window reveal, front. 2 door, scalp without reveal molding, front. Coupe, front, without rs or z24. 2 door, front, le.
4
Reveal Molding
GM
GM Positions: Left
Description: 2 door notchback & hatchback, scalp, front, black. 2 door, window reveal, front. 2 door, scalp without reveal molding, front. Coupe, front, without rs or z24. 2 door, front, le.
5
Reveal Molding
GM
GM Positions: Left
Description: 2 door notchback & hatchback, scalp, rear, black. 2 door, window reveal, rear. Coupe, rear. 2 door, scalp without reveal molding, rear. 2 door, rear, le.
5
Reveal Molding
GM
GM Positions: Right
Description: 2 door notchback & hatchback, scalp, rear, black. 2 door, window reveal, rear. Coupe, rear. 2 door, scalp without reveal molding, rear. 2 door, rear, le.
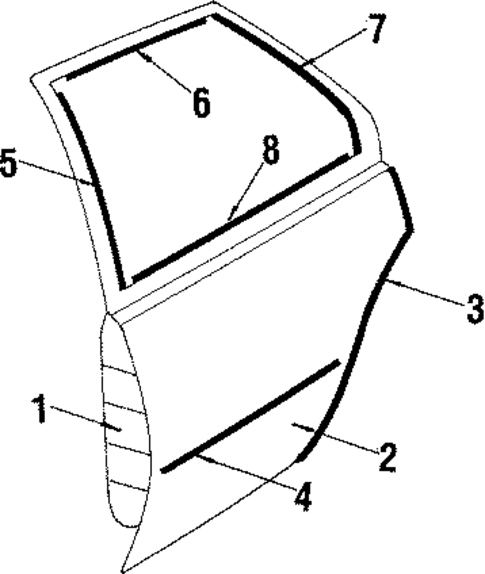
6
Side Molding
GM
GM Description: 2 door notchback, front, bright. 4 door sedan & station wagon, bright. 2 door hatchback, front, bright. Side, bright.
6
Side Molding
GM
GM Description: 4 door sedan & station wagon, gray. 2 door hatchback, front, gray. 2 door notchback, front, gray. Side, gray.
6
7
Belt Weather-Strip
GM
GM Positions: Left
Description: 2 door, outer, chrome. 2 door, without convertible, outer.
7
Belt Weather-Strip
GM
GM Positions: Right
Description: 2 door notchback & hatchback, inner. Coupe, inner. 2 door, convertible, inner belt. Convertible, at belt, inner.
7
Belt Weather-Strip
GM
GM Positions: Left
Description: 2 door notchback & hatchback, inner. Coupe, inner. 2 door, convertible, inner belt. Convertible, at belt, inner.
7
Belt Weather-Strip
GM
GM Positions: Right
Description: 2 door, outer, chrome. 2 door, without convertible, outer.
No.
Part # / Description / Price
Price
3
Edge Guard
GM
GM Positions: Right
Description: Without woodgrain. Edge guard, with stainless. Edge guard, without custom.
3
Edge Guard
GM
GM Positions: Left
Description: Without woodgrain. Edge guard, with stainless. Edge guard, without custom.
5
Reveal Molding
GM
GM Positions: Left
Description: Without cadet, front. Front, standard. Scalp, front, with reveal molding. Chrome.
5
Reveal Molding
GM
GM Positions: Right
Description: Without cadet, front. Front, standard. Scalp, front, with reveal molding. Chrome.
6
Reveal Molding
GM
GM Positions: Left
Description: Without cadet, upper, sedan. Scalp, upper, sedan. Upper, sedan, chrome. Upper, standard. Scalp, upper wagon, with reveal molding. Upper, sedan, without rs.
6
Reveal Molding
GM
GM Positions: Right
Description: Without cadet, upper, sedan. Scalp, upper, sedan. Upper, sedan, chrome. Upper, standard. Scalp, upper wagon, with reveal molding. Upper, sedan, without rs.
7
Reveal Molding
GM
GM Positions: Right
Description: Without cadet, rear, sedan. Rear, sedan, chrome. Rear, standard. Scalp, rear with reveal molding, sedan. Rear, sedan, without rs.
7
Reveal Molding
GM
GM Positions: Left
Description: Without cadet, rear, sedan. Rear, sedan, chrome. Rear, standard. Scalp, rear with reveal molding, sedan. Rear, sedan, without rs.
8
Belt Weather-Strip
GM
GM Positions: Left
Description: Without cadet, lower. Outer, sedan, chrome. Outer, standard. Outer, at belt, sedan.
8
Belt Weather-Strip
GM
GM Positions: Right
Description: Without cadet, lower. Outer, sedan, chrome. Outer, standard. Outer, at belt, sedan.
No.
Part # / Description / Price
Price
3
Edge Guard
GM
GM Positions: Right
Description: 4 door sedan & station wagon, edge guard, with stainless. 4 door sedan & station wagon, edge guard, with silver.
3
Molding
GM
GM Positions: Left
Description: 4 door sedan & station wagon, edge guard, with stainless. 4 door sedan & station wagon, edge guard, with silver.
3
3
4
Reveal Molding
GM
GM Positions: Right
Description: 4 door, chrome. 4 door sedan & station wagon, without cadet, front. Front, standard. 4 door sedan & station wagon, scalp with reveal molding, front. Sedan & station wagon, front reveal, chrome.
4
Reveal Molding
GM
GM Positions: Left
Description: 4 door, chrome. 4 door sedan & station wagon, without cadet, front. Front, standard. 4 door sedan & station wagon, scalp with reveal molding, front. Sedan & station wagon, front reveal, chrome.
5
Reveal Molding
GM
GM Positions: Left
Description: 4 door, chrome. 4 door sedan & station wagon, without cadet, rear. Rear, standard. 4 door sedan & station wagon, scalp with reveal molding, rear. Sedan & station wagon, rear reveal, chrome.
5
Reveal Molding
GM
GM Positions: Right
Description: 4 door, chrome. 4 door sedan & station wagon, without cadet, rear. Rear, standard. 4 door sedan & station wagon, scalp with reveal molding, rear. Sedan & station wagon, rear reveal, chrome.
6
Side Molding
GM
GM Positions: Left
Description: 4 door sedan & station wagon, gray. 2 door hatchback, front, gray. 2 door notchback, front, gray. Side, gray.
6
Side Molding
GM
GM Positions: Right
Description: 2 door, side, red & black. 4 door sedan & station wagon, black & red.
6
Side Molding
GM
GM Positions: Right
Description: 2 door notchback, front, bright. 4 door sedan & station wagon, bright. 2 door hatchback, front, bright. Side, bright.
Related Parts
Part # / Description / Price
Price
Door Shell Seal
GM
GM Positions: Right
Notes: PARTS: Convertible only.
Description: 2 door, convertible, lower opening. 2 door, with convertible.
Door Shell Seal
GM
GM Positions: Left
Notes: PARTS: Convertible only.
Description: 2 door, convertible, lower opening. 2 door, with convertible.
Reveal Molding
GM
GM Positions: Right
Description: Scalp, upper sedan, with reveal molding. Upper, wagon, without rs.
Reveal Molding
GM
GM Positions: Left
Description: Scalp, upper sedan, with reveal molding. Upper, wagon, without rs.
Mirror
GM
GM Positions: Left
Description: 2 door, without sport. 2 door, manual. 4 door, without sport. Coupe, manual. 4 door, manual.
Filler
GM
GM Positions: Right
Description: 2 door, window, without sport. 4 door sedan & station wagon, without sport. Sedan & station wagon, standard.
Mirror Filler
GM
GM Positions: Right
Description: 2 door notchback & hatchback, without sport. 2 door, standard. 2 door, at mirror, without sport. Coupe, at mirror, standard.
Mirror
GM
GM Positions: Right
Description: 2 door, manual. Coupe, manual. Sedan & station wagon, manual.
Mirror
GM
GM Positions: Left
Description: 2 door, with sport. 4 door sedan & station wagon, remote. 4 door, with sport. 2 door notchback & hatchback, remote. Coupe, remote, unpainted. Sedan & station wagon, remote, unpainted. 2 door, remote, standard.
Out of Stock
Out of Stock
Stiffener
GM
GM Positions: Right
Description: Coupe, power windows. 2 door, with power windows. Sedan & station wagon, power windows.
Stiffener
GM
GM Positions: Left
Description: Sedan & station wagon, power windows. 2 door, with power windows. Coupe, power windows.
Reveal Molding
GM
GM Positions: Left
Description: Without cadet, rear, wagon. Rear, wagon, without rs. Scalp, rear with reveal molding, wagon.
Mirror
GM
GM Positions: Left
Description: 2 door, remote, sport. 2 door notchback & hatchback, electric. 4 door sedan & station wagon, power. 4 door sedan & station wagon, remote, sport.
Mirror
GM
GM Positions: Right
Description: 4 door sedan & station wagon, remote. 2 door notchback & hatchback, electric. 2 door, remote. 4 door sedan & station wagon, power.
Belt Weather-Strip
GM
GM Positions: Right
Description: 4 door, outer, black. 4 door sedan & station wagon, outer. Outer, deluxe. 4 door, outer, le. 4 door, outer, all.
Belt Weather-Strip
GM
GM Positions: Left
Description: 4 door, outer, black. 4 door sedan & station wagon, outer. Outer, deluxe. 4 door, outer, le. 4 door, outer, all.
Belt Weather-Strip
GM
GM Positions: Right
Description: 2 door, outer, black. 2 door, coupe. 2 door, without convertible, le. 2 door, without convertible, all. Coupe, outer at belt, without rs & z24.
Belt Weather-Strip
GM
GM Positions: Left
Description: 2 door, outer, black. 2 door, convertible, outer. 2 door, without convertible, le. 2 door, coupe. 2 door, without convertible, all. Coupe, outer at belt, without rs & z24.
Reinforce Bar
GM
GM Positions: Left
Description: 2 door notchback & hatchback. Coupe. Convertible.
Out of Stock
Out of Stock
Outer Reinforced
GM
GM Positions: Right
Notes: PARTS: Convertible only.
Description: 2 door, with convertible.
Outer Reinforced
GM
GM Positions: Left
Notes: PARTS: Convertible only.
Description: 2 door, with convertible.
Belt Weather-Strip
GM
GM Positions: Right
Description: 4 door, inner. Sedan & station wagon, inner at belt.
Belt Weather-Strip
GM
GM Positions: Left
Description: 4 door, inner. Sedan & station wagon, inner at belt.
Belt Weather-Strip
GM
GM Positions: Right
Description: 2 door notchback & hatchback, inner. Coupe, inner. 2 door, convertible, inner belt. Convertible, at belt, inner.
Belt Weather-Strip
GM
GM Positions: Left
Description: 2 door notchback & hatchback, inner. Coupe, inner. 2 door, convertible, inner belt. Convertible, at belt, inner.
Filler
GM
GM Positions: Right
Description: 2 door, window, with sport. Sedan & station wagon, sport. 4 door, all.
Filler
GM
GM Positions: Left
Description: 2 door, window, with sport. 4 door, without sport. Sedan & station wagon, sport. 4 door, all.
Mirror Filler
GM
GM Positions: Right
Description: 2 door, without convertible. 2 door, at mirror, with sport. 2 door notchback & hatchback, with sport. Coupe, at mirror, sport.
Mirror Filler
GM
GM Positions: Left
Description: 2 door, without convertible. 2 door, at mirror, with sport. 2 door notchback & hatchback, with sport. Coupe, at mirror, sport.
Weatherstrip
GM
GM Positions: Left
Description: Coupe. 2 door, without convertible. 2 door notchback & hatchback.


