Interior Trim - Door for 1991 Chrysler LeBaron
Vehicle
1991 Chrysler LeBaron
Change Vehicle
- Bumper & Components - Front
- Bumper & Components - Rear
- Center
- Cover & Components
- Cowl
- Door
- Door & Components
- Exterior Trim - Convertible Top
- Exterior Trim - Door
- Exterior Trim - Fender
- Exterior Trim - Hood
- Exterior Trim - Quarter Panel
- Exterior Trim - Trunk
- Fender & Components
- Floor
- Frame & Components
- Front Door
- Front Panel
- Fuel Door
- Glass - Door
- Glass - Windshield
- Glass & Hardware
- Glass & Hardware - Back
- Hardware
- Hinge Pillar
- Hood & Components
- Inner Structure
- Instrument Panel
- Interior Trim - Convertible Top
- Interior Trim - Door
- Interior Trim - Pillars
- Interior Trim - Quarter Panels
- Interior Trim - Rear Body
- Interior Trim - Roof
- Labels
- Lid & Components
- Liftgate
- Luggage Carrier
- Motor & Components
- Outside Mirrors
- Overhead
- Quarter Panel & Components
- Radiator Support
- Rear Body
- Rear Door
- Rear Floor & Rails
- Reveal Moldings
- Rocker
- Roof & Components
- Sound System
- Structural Components & Rails
- Sunroof
- Tracks & Components
- Trunk
- Uniside
- Windshield Header & Components
- Wiper & Washer Components
- Air Bag Components
- Alternator
- Antenna & Radio
- Automatic Transaxle
- Backup Lamps
- Battery
- Corner Lamps
- Distributor
- Door
- Electrical Components
- Flashers
- Front Door
- Front Seat Belts
- Headlamp Components
- High Mount Lamps
- Horn
- Ignition Lock
- Ignition System
- Instruments & Gauges
- License Lamps
- Park Lamps
- Powertrain Control
- Quarter Window
- Rear Lamps
- Rear Seat Belts
- Senders
- Side Marker Lamps
- Starter
- Switches
- Switches, Solenoids & Actuators
- Tail Lamps
- Window Defroster
- Wipers
- Bumper & Components - Front
- Bumper & Components - Rear
- Center
- Cover & Components
- Cowl
- Door
- Door & Components
- Exterior Trim - Convertible Top
- Exterior Trim - Door
- Exterior Trim - Fender
- Exterior Trim - Hood
- Exterior Trim - Quarter Panel
- Exterior Trim - Trunk
- Fender & Components
- Floor
- Frame & Components
- Front Door
- Front Panel
- Fuel Door
- Glass - Door
- Glass - Windshield
- Glass & Hardware
- Glass & Hardware - Back
- Hardware
- Hinge Pillar
- Hood & Components
- Inner Structure
- Instrument Panel
- Interior Trim - Convertible Top
- Interior Trim - Door
- Interior Trim - Pillars
- Interior Trim - Quarter Panels
- Interior Trim - Rear Body
- Interior Trim - Roof
- Labels
- Lid & Components
- Liftgate
- Luggage Carrier
- Motor & Components
- Outside Mirrors
- Overhead
- Quarter Panel & Components
- Radiator Support
- Rear Body
- Rear Door
- Rear Floor & Rails
- Reveal Moldings
- Rocker
- Roof & Components
- Sound System
- Structural Components & Rails
- Sunroof
- Tracks & Components
- Trunk
- Uniside
- Windshield Header & Components
- Wiper & Washer Components
- Air Bag Components
- Alternator
- Antenna & Radio
- Automatic Transaxle
- Backup Lamps
- Battery
- Corner Lamps
- Distributor
- Door
- Electrical Components
- Flashers
- Front Door
- Front Seat Belts
- Headlamp Components
- High Mount Lamps
- Horn
- Ignition Lock
- Ignition System
- Instruments & Gauges
- License Lamps
- Park Lamps
- Powertrain Control
- Quarter Window
- Rear Lamps
- Rear Seat Belts
- Senders
- Side Marker Lamps
- Starter
- Switches
- Switches, Solenoids & Actuators
- Tail Lamps
- Window Defroster
- Wipers
Browse Categories
Select category
- Bumper & Components - Front
- Bumper & Components - Rear
- Center
- Cover & Components
- Cowl
- Door
- Door & Components
- Exterior Trim - Convertible Top
- Exterior Trim - Door
- Exterior Trim - Fender
- Exterior Trim - Hood
- Exterior Trim - Quarter Panel
- Exterior Trim - Trunk
- Fender & Components
- Floor
- Frame & Components
- Front Door
- Front Panel
- Fuel Door
- Glass - Door
- Glass - Windshield
- Glass & Hardware
- Glass & Hardware - Back
- Hardware
- Hinge Pillar
- Hood & Components
- Inner Structure
- Instrument Panel
- Interior Trim - Convertible Top
- Interior Trim - Door
- Interior Trim - Pillars
- Interior Trim - Quarter Panels
- Interior Trim - Rear Body
- Interior Trim - Roof
- Labels
- Lid & Components
- Liftgate
- Luggage Carrier
- Motor & Components
- Outside Mirrors
- Overhead
- Quarter Panel & Components
- Radiator Support
- Rear Body
- Rear Door
- Rear Floor & Rails
- Reveal Moldings
- Rocker
- Roof & Components
- Sound System
- Structural Components & Rails
- Sunroof
- Tracks & Components
- Trunk
- Uniside
- Windshield Header & Components
- Wiper & Washer Components
- Air Bag Components
- Alternator
- Antenna & Radio
- Automatic Transaxle
- Backup Lamps
- Battery
- Corner Lamps
- Distributor
- Door
- Electrical Components
- Flashers
- Front Door
- Front Seat Belts
- Headlamp Components
- High Mount Lamps
- Horn
- Ignition Lock
- Ignition System
- Instruments & Gauges
- License Lamps
- Park Lamps
- Powertrain Control
- Quarter Window
- Rear Lamps
- Rear Seat Belts
- Senders
- Side Marker Lamps
- Starter
- Switches
- Switches, Solenoids & Actuators
- Tail Lamps
- Window Defroster
- Wipers
- Bumper & Components - Front
- Bumper & Components - Rear
- Center
- Cover & Components
- Cowl
- Door
- Door & Components
- Exterior Trim - Convertible Top
- Exterior Trim - Door
- Exterior Trim - Fender
- Exterior Trim - Hood
- Exterior Trim - Quarter Panel
- Exterior Trim - Trunk
- Fender & Components
- Floor
- Frame & Components
- Front Door
- Front Panel
- Fuel Door
- Glass - Door
- Glass - Windshield
- Glass & Hardware
- Glass & Hardware - Back
- Hardware
- Hinge Pillar
- Hood & Components
- Inner Structure
- Instrument Panel
- Interior Trim - Convertible Top
- Interior Trim - Door
- Interior Trim - Pillars
- Interior Trim - Quarter Panels
- Interior Trim - Rear Body
- Interior Trim - Roof
- Labels
- Lid & Components
- Liftgate
- Luggage Carrier
- Motor & Components
- Outside Mirrors
- Overhead
- Quarter Panel & Components
- Radiator Support
- Rear Body
- Rear Door
- Rear Floor & Rails
- Reveal Moldings
- Rocker
- Roof & Components
- Sound System
- Structural Components & Rails
- Sunroof
- Tracks & Components
- Trunk
- Uniside
- Windshield Header & Components
- Wiper & Washer Components
- Air Bag Components
- Alternator
- Antenna & Radio
- Automatic Transaxle
- Backup Lamps
- Battery
- Corner Lamps
- Distributor
- Door
- Electrical Components
- Flashers
- Front Door
- Front Seat Belts
- Headlamp Components
- High Mount Lamps
- Horn
- Ignition Lock
- Ignition System
- Instruments & Gauges
- License Lamps
- Park Lamps
- Powertrain Control
- Quarter Window
- Rear Lamps
- Rear Seat Belts
- Senders
- Side Marker Lamps
- Starter
- Switches
- Switches, Solenoids & Actuators
- Tail Lamps
- Window Defroster
- Wipers
No.
Part # / Description / Price
Price
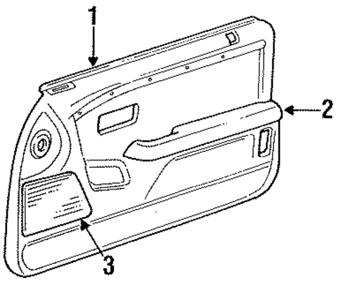
1
Door Trim Panel
Mopar
Mopar Positions: Right
Notes: PARTS: Order by color and description.
Description: Convertible, cloth.
1
Door Trim Panel
Mopar
Mopar Positions: Left
Notes: PARTS: Order by color and description.
Description: Convertible, cloth.
1
Door Trim Panel
Mopar
Mopar Positions: Right
Notes: PARTS: Order by color and description.
Description: Convertible, leather.
1
Door Trim Panel
Mopar
Mopar Positions: Left
Notes: PARTS: Order by color and description.
Description: Convertible, leather.
2
Armrest
Mopar
Mopar Positions: Right
Notes: PARTS: Order by color and description.
Description: Convertible. Coupe.
2
3
Speaker Grille
Mopar
Mopar Positions: Right
Notes: PARTS: Order by color and description.
Description: Convertible. Coupe.
No.
Part # / Description / Price
Price
1
Door Trim Panel
Mopar
Mopar Positions: Right
Notes: PARTS: Order by color and description.
Description: Coupe, vinyl.
1
Door Trim Panel
Mopar
Mopar Positions: Left
Notes: PARTS: Order by color and description.
Description: Coupe, vinyl.
1
Door Trim Panel
Mopar
Mopar Positions: Right
Notes: PARTS: Order by color and description.
Description: Coupe, cloth.
1
Door Trim Panel
Mopar
Mopar Positions: Left
Notes: PARTS: Order by color and description.
Description: Coupe, cloth.
3
Speaker Grille
Mopar
Mopar Positions: Left
Notes: PARTS: Order by color and description.
Description: Convertible. Coupe.
Related Parts
Part # / Description / Price
Price

